General Topics
Post a discussion here if you have general questions regarding configuration and troubleshooting for Palo Alto Networks products. Use this forum to collaborate with like-minded security professionals to improve your security posture.
cancel
Showing results for 
Show  only  | Search instead for 
Did you mean: 
General Topics
Post a discussion here if you have general questions regarding configuration and troubleshooting for Palo Alto Networks products. Use this forum to collaborate with like-minded security professionals to improve your security posture.
About General Topics
Post a discussion here if you have general questions regarding configuration and troubleshooting for Palo Alto Networks products. Use this forum to collaborate with like-minded security professionals to improve your security posture.

Discussions

Discover LIVEcommunity Through Our New Animated Explainer Video!

We’re thrilled to unveil a brand-new animated video that highlights everything LIVEcommunity has to offer! This short and engaging video gives you a quick tour of the many resources available in our vibrant community — from interactive discussions and customer journey guides to the Cyber Elite program and Member Spotlight features. Whether ...

kiwi_0-1745308399217.png
kiwi by Community Team Member
  • 4120 Views
  • 0 replies
  • 0 Likes

Resolved! Renew digicert certificate

Hi, The certificate we use for GlobalProtect needs to be renewed and I have just paid the renewal and received the file from digicert.. In my PA500's Device Certificates the expired certificate has two lines: The second line's certificate name has 'PEM' as suffix. I got a .P7B file from digicert.com with the renewed certificate. How do I...

Palo Alto daily admin tasks

Hi, I am a somewhat newbie to PaloAlto firewall. I was wondering if someone could give some good guidance into what "Daily" tasks look for a PaloAlto Admin? What should they be monitoring on daily basis? Is there a nice checklist of things that should be looked into on Daily and/or weekly basis? Thanks. P

Chintan by L0 Member
  • 4322 Views
  • 2 replies
  • 2 Likes

System stats

Is there a way to run a report to see if CPU is getting spiked over a 24 hour period of time

jdprovine by L4 Transporter
  • 2172 Views
  • 1 replies
  • 0 Likes

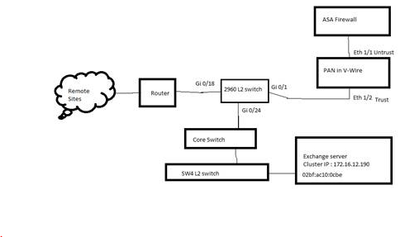
Resolved! VWIRE Physical Connecivity to Current Virtual Firewall

Hi, I am trying to get my head around VWIRE and how it supposed to work. We have the following scenario SWITCH -> VIRTUAL FIREWALL (ON SHARED HOST) -> INTERNET We are now looking to do SWITCH -> PALO ALTO -> VIRTUAL FIREWALL (ON SHARED HOST) -> INTERNET I am thinking how this would work physically. The virtual firewall...

indysogi by L2 Linker
  • 3103 Views
  • 2 replies
  • 0 Likes

Logging query - Missing logs from implicit deny rule

Hi all, Doing some testing with a PAN-OS v6.0.0 VM-100. The command ‘set system setting logging default-policy-logging 300’ is configured so I am seeing log entries for traffic that is being blocked by the implicit deny rule for inter-zone traffic. If I enable a security policy that permits any application I’m able to play a video on webpage...

Downloads stuck at 0%

Hi All, Firewall is connecting to update server. it retrieves all the recent PAN-OS versions and all dynamic updates(app ver). But when i start to download the software/dynamic updates, its connecting to update server and exchanging some packets but download stuck at 0% device is registered, restarted managment plane, cleared job id, stil...

Javith by L3 Networker
  • 3975 Views
  • 1 replies
  • 0 Likes

Resolved! Action Configured in Security Rules and Seen in Traffic Log is Inconsistent 7.04

Since upgrading to 7.0.4 our traffic logs now show the action of 'reset-both' and 'deny' when the rule explicitly has been set to 'deny'. This is occuring on multiple rules since upgrading from 6.1.8. Example: we have a rule to block specific applications like bittorent, http-proxy, hola-unblocker, etc and the action is set to 'deny'. But now ...

lewis by L4 Transporter
  • 8308 Views
  • 6 replies
  • 0 Likes

HSM setup in PAN-OS 7 setup HSM partition missing

Hello all I'm new in HSM configuration I configured the setup hardware security module. with a PANOS version 7 the result was success and in the admin guide is wrote that you have to configured the Setup HSM Partition but this does exist in the Hardware Security Operations area. any idee

HSM.png
Gregoux by L4 Transporter
  • 3364 Views
  • 1 replies
  • 0 Likes

Upgrade Panorama

hi, I have cluster firewalls in versions 7.0.4 but my panorama is in 6.1.2. Ive never upgraded panorama. Any manual?? Should i install the imagen base 7.0.1 to go to 7.0.4 or just donwload?????? its the same that upgrade a palo alto firewall?? any thing to know before??

Firewall rule auditng

Has any body have a procedure on how to audit and remove rules? We have alot of what appears to be unused rules so far I disable them, date when I disabled them and then a 30 days and then delete them. let me know if any one has any better method or suggestions

jdprovine by L4 Transporter
  • 6610 Views
  • 10 replies
  • 0 Likes

URL Filtering when Users are in Multiple Groups?

I am unsure of how to solve this issue with URL filtering. Lets say HR wants to block the job search category and the hacking category except for specific users. I have an Active Directory group to allow Job Search for people who are allowed to access those sites, and another AD group for IT people who are allowed to access the Hacking group. ...

Blocking Opera

Hi there, I’ve recently discovered that some users have downloaded Opera and with this they can have unfiltered internet access. I am going to remove this software from the PCs but wanted to know if there is a way I can block this traffic using my Palo Alto? Thanks

Error UserID

Hi, my users are having a error. sometimes when they try to access to any web, suddenly, the captive portal is shown (even if they are logged in domain). If they put the credentials in captive portal the web works and also if they logoff/logon the windows session and try to open again the web. It sounds like UserID problem. We have checked all t...

Resolved! Report-based Logging Without Interfering With Policies

Hi PANland, I'm back with another implementation question th So PAN devices log when you tell them to, but for their reports feature it seems that with or without logs they will keep unmutable counters of very basic information that has to be parsed anyway to make it through the firewall (ie. application, source, etc.). Here’s my situation: I’...

  • 24336 Posts
  • 124 Subscriptions
Top Solution Authors
Top Liked Authors
Labels